
QF-CF滤筒除尘器
滤筒除尘器概述:
滤筒除尘器是以滤筒作为过滤元件所组成或采用脉冲喷吹的除尘器。滤筒除尘器是一种中央式除尘器,为模块式组合机体,内设脉冲喷吹系统。能同时净化多个产尘点的粉尘,满足各种产生大风量、中低浓度粉尘的工厂车间的全面治理。
滤筒除尘器工作原理:
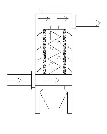
在正常运行时,含尘气体在负压的作用下由顶部入口进入除尘器,由于气流端面的突然扩大及气流分布板的作用,气流中一部分颗粒粗大的尘粒在重力和惯性力的作用下,沉降到灰斗;粒度细、密度小的尘粒进入过滤室,通过布朗扩散和纤维拦截等综合效应,使粉尘沉积在滤筒的滤料表面,净化后的气体进入净气室内,由出风口经风机排出。滤筒除尘器的阻力随着滤筒的表面积灰增加而变大,当阻力达到一定的设定值时,PLC程序控制脉冲阀开启,气包内喷射出一股高速高压气流,通过文丘里管的扩充,均匀的进入滤筒内部,在滤筒内部形成瞬间的正压,产生巨大的振动,使沉积在滤料上的粉尘脱落,在重力的作用下掉入灰斗内,收集的粉尘通过卸灰阀,排出到灰桶内。最上一排滤筒会首先脉冲反吹,然后控制仪选择下一排重复脉冲反吹过程。此后此控制仪会顺序继续选择其他滤筒进行脉冲反吹操作。
滤筒除尘器产品结构图:

含尘气体进入除尘器灰斗后,由于气流断面突然扩大及气流分布板作用,气流中一部分粗大颗粒在惯性力作用下沉降在灰斗;粒度细、密度小的尘粒进入滤尘室后,通过布朗扩散和筛滤等组合效应,使粉尘沉积在滤料表面上,净化后气体进入净气室由排气管经风机排出。
滤筒除尘器产品适用范围:
广泛适用于食品、制药、饲料、冶金、建材、水泥、机械、化工、电力、轻工行业的含尘气体的净化与粉尘物料的回收。
滤筒除尘器产品优点: